东莞市草莓视频苹果下载仪器设备有限公司主营: 冷热冲击草莓视频成人网站、 高低温温冲击草莓视频APP污黄、 高低温冲击箱等产品!
热门关键词: 冷热冲击草莓视频成人网站、 高低温冲击草莓视频成人网站、 小型高低温草莓视频成人网站
盐雾草莓视频成人网站高低温试验设备校准方法研究
在海洋气候环境中,盐雾草莓视频成人网站盐雾腐蚀作用对武器装备的失效、寿命有着重要的影响,应用在武器产品的材料或防护材料的抗腐蚀性能直接影响武器装备质量的可靠性。在民用产品领域,如汽车零部件等,产品抗腐蚀性能直接影响到汽车的寿命、性能和安全等。因此,通过盐雾腐蚀试验考核产品的耐腐蚀性对于保障武器装备、工业产品的质量有重要作用。同时,也可以通过盐雾腐蚀试验来筛选材料。可以说盐雾腐蚀试验在军事工程、民用工程的耐、抗腐蚀性的材料研制、制造加工、筛选等方面有着不可替代的作用。
在环境试验中,环境试验设备广泛用于产品的研制、存储、运输、使用等各个环节的可靠性试验。由于技术的进步,近几年试验设备得到了较大的发展,不断涌现出许多新型试验设备,由从前的单一功能参数向综合多参数、多功能方向发展,盐雾腐蚀试验设备中出现了盐雾、交变试验设备或盐雾、交变、高低温试验设备(以下统称为盐雾高低温试验设备)。此类新型环境试验设备在各军工科研机构配备有相应的试验设备。
由于环境试验的目的就是要在特定的环境参数条件下考核材料、产品的性能,特定环境条件下环境参数测量的准确与否,直接影响到试验结果。因此,环境参数的测量技术与环境试验设备的校准技术水平直接影响到环境试验技术的水平。然而,对盐雾高低温试验设备的检验、检测、校准却遇到了新的问题,主要是在盐雾腐蚀气氛下的湿度测量存在较大的测量误差。由于此问题一直没有得到解决,以至于在国标 GB10586~10592、GB11158~11159 草莓视频成人网站技术条件系列标准中没有此类设备的草莓视频成人网站技术条件标准,在国标 GB/T 5170 电工电子产品环境试验设备基本参数检定方法系列标准中也没有此类试验设备的检定方法。目前,能生产此类试验设备的厂家(如国内有无锡市锦华试验设备有限公司,迪安环境试验设备有限公司等;国外有美国 Q-Panel LAB 公司等)也没有解决此类问题。
因此,研究、解决在雾腐蚀气氛中的湿度测量方法,以及盐雾高低温试验设备的校准方法可以为盐雾交变试验方法和盐雾交变试验设备提供了技术保证,为日后制定此类草莓视频成人网站的技术条件标准和检定方法标准提供了技术基础和方法保证,为该类试验设备的设计、研制、生产提供技术支持,对促进我国标准技术的发展和试验设备技术的发展作用重大。
研究内容
目前的试验方法标准中,盐雾试验的温度为 35℃±2℃,盐雾沉降率为(1.5±0.5)ml/h,湿热贮存试验的温度为 40℃±2℃,相对湿度 92.5%RH±2.5%RH。那么为盐雾交变试验方法设计生产的盐雾交变试验设备,需要校准的项目为:盐雾试验时的温度 35℃±2℃和在此温度下的盐雾沉降率(1.5±0.5)ml/h;湿热贮存试验时的温度 40℃±2℃和此温度下的相对湿度 92.5%RH±2.5%RH。
因此,本论文重点解决在盐雾腐蚀气氛中的湿度测量方法,以及盐雾高低温交变试验设备的校准方法。本论文以该盐雾试验和该湿热试验为基础,定量分析研究在温度 35℃、盐雾沉降率 1.5ml/h 之后,在温度 40℃下的相对湿度 92.5%RH的测量方法、技术等相关研究,以满足目前盐雾高低温交变试验设备校准和盐雾交变试验的需要。
国内外技术现状
盐雾试验技术的发展
盐雾腐蚀试验是环境试验体系的重要组成部分,对于在海洋气候环境条件下使用的军事武器产品,更是不可或缺的可靠性试验。在现有的环境试验方法标准体系中主要有:单一的盐雾试验,盐雾、交变试验。部分试验方法标准中还有盐雾、交变、高低温试验。虽然一种试验可以用改变试验周期来模拟实际使用情况下的不同腐蚀程度,如海洋大气条件下试验四个周期,一般气候大气条件下试验一个周期等。但这些气候的腐蚀因素是不同的,所以还是不能预测试验样品在不同的气候条件中性能的真实情况。
为了在短时间内得出材料、元件、设备相当于在使用条件下运行若干年后的性能,对不同的气候条件采用不同的加速试验方法。常用的加速试验方法有:a. 增加温度。
b. 增加相对湿度。c. 增加凝露程度。d. 增加腐蚀介质浓度。e. 增加试验循环中有腐蚀介质与没有腐蚀介质的时间比,或增加试验时间。f. 加电压或电流。g. 加机械振动。h. 使温度有周期性变化。
一般来说,在增加温度不会引起或加速其它反应时温度升高 10℃,化学反应会增加 2~3 倍。当相对湿度增大,也会促进腐蚀速度加快。自然条件下,许多腐蚀机理跟腐蚀条件有关,如在盐雾腐蚀试验中,连续喷雾和盐雾与潮湿交替试验所得的结果大不相同,后者与自然暴露结果比较相似。
因此,盐雾、交变试验或盐雾、交变、高低温试验比单一的盐雾试验更近似自然条件下的腐蚀结果,前者多参数综合作用的试验结果对考核材料、产品的抗腐蚀性更有优势,它的应用越来越广泛。可以说,盐雾、交变试验或盐雾、交变、高低温试验是盐雾试验标准技术发展的趋势和方向。
试验设备技术的发展
由于技术的进步,与环境试验相关的环境试验设备近几年得到了较大的发展,由从前的单一功能参数向综合多参数、多功能方向发展,不断涌现出许多新型试验设备,盐雾高低温试验设备就是其中一种。从前,由于环境试验设备制造技术的限制,实现盐雾、交变试验或盐雾、交变、高低温试验需二种或三种试验设备来完成,即分别由盐雾草莓视频成人网站、湿热草莓视频成人网站、高低温草莓视频成人网站(或高低温湿热草莓视频成人网站)各自独立完成盐雾、交变、高低温试验。试验过程中,受试验样品要在二种、三种试验设备之间不断转移,其结果是:在转移过程中,附着在试验样品上的盐溶液会有不同程度的损失。湿热试验设备(或高低温试验设备),由于该类试验设备采用强制循环的热交换方式来实现温湿度平衡,试验样品表面上的盐溶液受强制循环风的作用而易于损失,同时,样品上损失的盐溶液会对该类试验设备起腐蚀作用,影响设备寿命。不可忽视的是在试验过程中样品上盐溶液的损失改变了腐蚀条件,不能满足和符合试验标准的要求,达不到腐蚀试验的效果和目的。这是该类试验以前的现实情况。
盐雾高低温试验设备的出现,使上述情况得到了根本的改变。由于盐雾、交变、高低温三种参数集合在一台试验设备上,受试验样品不再需要移动,样品上的盐溶液损失的问题就不会存在。盐雾高低温交变试验设备,其盐雾、高低温、湿度各自功能的实现与传统的盐雾箱、高低温箱、湿热箱没有太大的区别,喷雾、加热、冷却、加湿等方式与传统方法相同。的区别是:设备的恒温恒湿方式采用自然空气对流,而传统的温度箱、湿热箱的恒温恒湿方式则采用强制空气循环。
因此,盐雾高低温试验设备的出现,使盐雾试验遇到的设备问题得到了有效的解决,有利于人们更有效地获取材料、产品的真实试验数据。可以说,该类试验设备代表着试验设备技术发展的趋势和方向。
湿度测量技术
在目前已有的方法和手段中,湿度测量主要有干湿法、露点法、电湿度测量法(电阻法、电容法)等,这些方法都是在标准条件下或自然大气条件下不带腐蚀气体的空气湿度为测量对象。在湿度测量领域中,对于低湿和高湿及其在低温和高温条件下的测量,到目前为此仍然是一个薄弱环节,而其中又以高温条件下的湿度测量技术最为落后。通风干湿球湿度计几乎是在这个温度条件下可能使用的惟一方法。
目前存在的技术问题
盐雾交变试验方法规定,盐雾和湿热试验分为若干个循环和周期,每个喷雾周期之后都紧跟着一个湿热贮存周期,部分试验方法中还有一个高低温试验周期。试验设备的控制器已把试验循环和周期编程自动运行,对采用干湿球法测量和控制湿度的设备而言,湿球纱布已经受到前一个喷雾周期的盐雾污染,故紧跟着的湿热试验中,设备测得的湿度因盐雾的污染而产生了较大的误差。对校准测量工作来说,测量状态必须与设备实际的工作状态相一致,否则校准的结果是没有意义的。
盐雾高低温交变试验设备需要校准的参数为盐雾沉降率、温度、湿度三种参数,其中温度的测量是在盐雾试验喷雾的状态下进行,湿度测量是在盐雾周期之后的湿热试验周期进行的。由于试验设备的工作空间是密闭的,盐雾周期之后工作空间内充满盐溶液和盐雾,此时的空气中依然存在大量的盐污染,湿度测量事实上也是在腐蚀气氛下进行的。所以,盐雾高低温交变试验设备的校准与一般的温度、湿度试验设备的校准是不同的,温度、湿度参数的测量需在盐腐蚀气氛下进行,这给校准带来很大的难题。
三种参数共存时,测量中首先要遇到的问题是,盐雾气氛下带有腐蚀性。盐雾量可以使用抗腐蚀的玻璃量器来测量,温度可以使用抗腐蚀的玻璃(或陶瓷)保护套的铂电阻温度计来测量。而湿度测量,在目前已有的方法和手段中,主要有重量法、露点法、湿敏元件法、干湿法等,这些方法都是在标准条件下或自然大气条件下不带腐蚀气体的空气湿度为测量对象。在盐雾气氛下,重量法测量必然会因为吸入盐分而带来较大的测量误差,同时,重量法测量操作复杂,一般只用于标准的量值传递的测量,不适宜用于日常的湿度测量;露点法测量因盐分会对冷凝镜面造成污染和腐蚀作用而不能使用;湿敏元件法同样因湿敏元件的材料不能抗腐蚀而不适合腐蚀气氛下的湿度测量;干湿法因盐雾会在湿球纱布上积聚盐分而影响纱布的吸湿性和挥发性,同样会带来较大的测量误差。所以,湿度参数在量值传递中的测量和在环境试验参数中的测量是有区别的,它们的测量条件完全不一样。
温度校准方法
目前,温度测量的技术已能满足环境试验设备温度参数的校准需要。Pt100 铂电阻测温元件重新分度后,准确度可达 0.1℃以上,其中使用玻璃或陶瓷封装的Pt100 铂电阻测温元件,具有很好的耐腐蚀性。经草莓视频苹果下载多年使用证明,德国 ABB 公司生产的玻璃封装的 Pt100 铂电阻测温元件具有良好的稳定性,准确度可满足要求。故选用该测温元件作设备温度测量元件。
环境试验设备的校准涉及工作空间的温湿度场的温湿度分布,需要对工作空间多个位置进行同时测量。盐雾试验设备、温度试验设备、湿热试验设备等各类环境试验设备的国家检定方法标准中均明确了温度、湿度的测量点和数量,故测量仪器需要选择多通道的自动测量仪。美国安捷伦公司生产的 34970A 数据采集开关单元适用于各种数据记录和监视应用,无论是独立使用,或是和计算机一起使用。它灵活的模块化设计能选择20 至 120 个通道,从而为简单控制增加执行器、数字 I/O 和模拟输出通道。它体积小,结构坚固,最适合便携式应用。34970A 的软件驱动程序支持 Agilent VEE 和NI LabView,能容易地集成为测试系统,而且提供的标准 RS-232 和 GPIB 接口及SCPI 程序语言使集成更为容易。
由于 34970A 数据采集开关单元具有多达 30 通道的四线电阻温度测量功能,可联机自动巡检测量。经草莓视频苹果下载近十年的使用证明具有长期的稳定性,校准后短期(90 天)的准确度可达 0.02℃,长期(一年)准确度达 0.06℃,故选作测温元件的测量仪器。配 3 块 34901A 模块的 34970A 数据采集/开关单元的功能参数如下:通道:30 通道,四线制铂电阻输入;分辨率:0.01℃;温度准确度:<0.02℃(校准后);温度稳定性:<0.01℃。
校准装置的组成
盐雾草莓视频成人网站耐腐蚀通风干湿计研究解决后,整套校准装置组成如下:a. Pt100 铂电阻温度计
b. 耐腐蚀通风干湿计 c. 34970A 数据采集/开关单元 d. 手提电脑 e. 漏斗
f.精密量筒
校准装置组成图如图 3-1。

校准装置的溯源
a. 盐雾沉降率测量使用的精密量筒,可通过标准玻璃量器标准装置溯源到国家基准。
b. 温度测量可通过一等铂电阻温度计标准装置溯源到国家基准。
c. 湿度测量可通过湿度标准装置溯源到国家基准。
耐腐蚀通风干湿计设计
盐雾高低温交变试验设备的恒温恒湿采用自然对流方式,空气流动的速度非常缓慢,如采用没有固定风速的干湿计,则测量准确度大大降低而不能满足校准设备的技术指标要求因此,只能采用强制通风的通风干湿计才能满足要求。
现有的通风干湿计并没有考虑耐腐蚀问题,加上体积较大和采用液体玻璃温度计测温,当放置在设备内测量时不能读取温度计的数值,所以目前现有的通风干湿计并不适用于盐雾高低温交变试验设备的湿度测量。盐雾高低温交变试验设备的试验空间不大,通常只有 1m3左右,故测量通风干湿计的体积应尽量小,测温系统需独立于干湿计。因此,要解决盐雾高低温交变试验设备的校准方法问题。需要重新设计适合设备特点的小型耐腐蚀通风干湿计。
通风干湿计的结构设计
气象用通风干湿计是成熟的湿度测量装置,其结构模式理论和实验证明了是合理的,故耐腐蚀通风干湿计(以下简称干湿计)的结构模式主要参考气象用通风干湿计。参照气象用电动通风干湿计的结构原理,把干湿球温度计封装在盒中,顶部安装电机风扇,以电机中间为轴心,用隔板隔开,使盒分作两部分,同时可使电机的鼓风分作两股,盒底部两侧分别开通风孔;盒中隔板的一边安装干球温度计,另一边安装湿球温度计,底部安装储水杯。所有材料均使用耐腐蚀的塑料,结构示意图如下图 4-1。

测温元件的选择
考虑到环境试验设备的特殊性,测温元件的基本要求为:耐腐蚀盐雾腐蚀;合适的尺寸,便于湿球纱布的安装操作;线性好,便于修正;准确度高,稳定性好。草莓视频苹果下载使用德国 ABB 公司的玻璃铂电阻元件,经检测表明该元件的线性、稳定性、准确度、尺寸选择等均符合要求。选择的测温元件基本参数如下:尺寸:长度(30±3)mm,直径(3±0.2)mm;标称阻值:100Ω;准确度:A 级;
通风系统设计
依据小型化设计要求,所选择的电机需合适的尺寸,同时需耐腐蚀。根据草莓视频苹果下载对市场调查的结果,选定的电机(已包含风叶)参数如下:尺寸:长 40mm,宽 40mm,高 20mm;
电压:0~12V 可调;风速:>2.5m/s
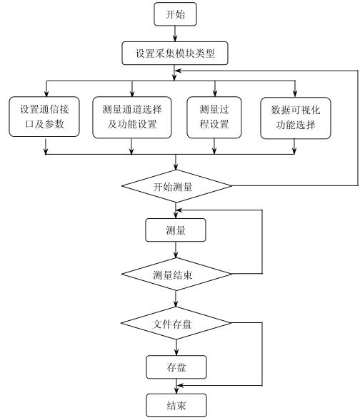
测量软件
根据 34970A 的功能以及校准的要求,测量软件所需要的功能如下:
1)34970A 与计算机通信的设置功能。34970A 数据采集/开关单元具有 RS232串口等通信接口,测量软件要根据 34970A 的通信接口设置,选择相应的通信接口。对串口,还要设置相应的串口通信参数设置。
2)通道选择及测量功能设置。由于要对试验设备工作空间 15 个位置同时测量湿度或温度,需要选择相应的测量通道以及设置每个通道的测量功能、测量参数。
3)测量过程设置。可以根据校准的需要,灵活设置测量的起始时间、终止时间、测量的间隔时间、测量触发事件等。
4)测量数据可视化处理。将测量数据以表格、图形等方式显示出来,方便校准过程中对数据的观察。
5)数据文件的存储等功能。
软件主要流程图

编程工具
校准软件选用 Win9X/Me/ NT/Win2000/XP 作为操作系统,采用当前比较流行
的编程语言 Delphi5 和 LabVIEW6.1 编写而成。前台采用 Delphi5 语言设计,界面
比较友好,易用,人性化。后台采用当前最流行虚拟仪器编程语言 LabVIEW6.1
设计及编写。
系统在设计过程中,采用了模块化设计,这样可以使得每个项目能够独立工作,同时系统设计中,为了使用的方便,系统能够在中途暂停保存,重启后可以继续进行,从而提高了软件的灵活性。
系统在设计过程中,采用 LabVIEW6.1 编写测量子程序,编译成动态连接库文件(.dll);采用 Delphi5 编写校准软件前台控制,调用动态连接库文件(.dll)。
软件主要界面





本文重点研究了盐雾腐蚀气氛下的湿度测量问题和盐雾高低温交变试验设备的校准方法,取得以下成果:
1)研制了通风干湿计,建立了盐雾高低温交变试验设备的校准装置;
2)开展了目前试验条件规定的盐雾浓度气氛下湿度的测量方法的研究,提出了在经不同间盐雾污染后湿度测量修正值的测量方法,并通过实验求得污染前后湿度测量的变化量,使用修正值的方法解决了盐雾污染下干湿球法测量湿度的问题盐雾草莓视频成人网站
http://www.sdypx.com
电话
15899697899
微信
加微信好友
邮箱
zhenghang@vip.126.com